【确善能公布三款定焦镜头专利】
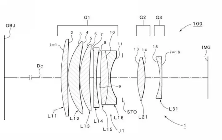
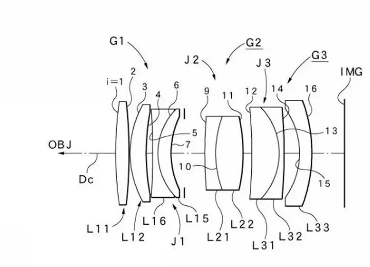
近日,确善能(Cosina)公布了三款定焦镜头的专利设计,规格分别为90mm F2、100mm F2以及 35mm F2。
其中,90mm F2镜头从专利描述来看,很可能对应其APO-ULTRON 90mm F2型号。而同时公开的100mm F2 和 35mm F2两款设计,目前仅为专利公开,并不代表一定会投入商业化生产。对此类消息,我们还需理性看待。 





—— 请到米拍APP查看更多大片 ——
扫码参与讨论 玩摄影,上米拍



—— 请到米拍APP查看更多大片 ——